









限位定位装置
限位定位装置适用于电气化铁路接触网系统腕臂结构中固定接触线位置。
-
产品介绍及相关信息
钢腕臂限位定位装置应用范围: 适用于 350km/h 及以下钢腕臂限位定位装置与钢腕臂支撑装置相连接, 组成完整的钢腕臂支撑定位结构。
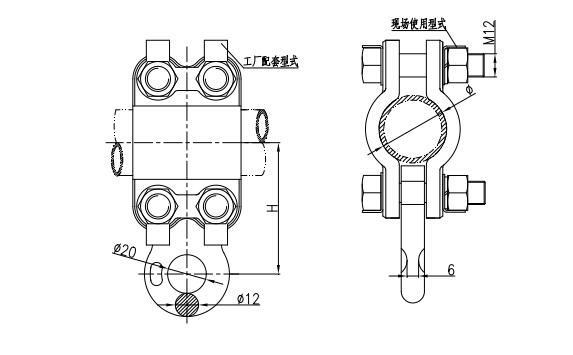
装置组成: 定位环、 定位管、 定位支撑管、 定位支座、 电气连接跳线、 定位管拉线等组成。其中限位定位器、 定位支座可采用铝合金定位装置中的产品。
弹性限位定位装置
应用范围: 用于 350km/h 及以下整体腕臂定位系统中与整体腕臂支撑配套, 组成完整的整体腕臂支撑定位结构。
装置组成: 定位管、 合页型定位环、 定位支座、 限位定位器。
铝合金限位定位装置 应用范围: 铝合金限位定位装置一般应用于 300~350km/h 电气化铁路。 也可应用于 250km/h以下电气化铁路。
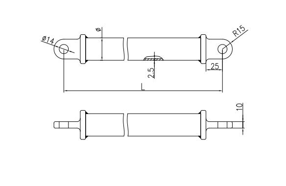
装置组成: 一般由定位环, 定位管, 定位管斜拉线/支撑, 拉线定位钩/套管单耳, 管帽, 定位支座, 定位器电气跳线, 限位定位器, 定位线夹, 防风拉线, 防风拉线定位环组成, 产品照片如下。

en

微信二维码
网站二维码


